











全铜旋翼式多流冷水表 型号:LXSG-15E
用途:本系列水表用于家庭或者一个居民单元测量流经自来水管道饮用水用量
特点:
l 多流束
l 干式
l 防磁,防冻性好
l 计数器真空密封,读数可长期保持清晰
l 计量精度达到ISO4064 CLASS B
l 采用优质材料,性能稳定可靠
材质:
壳体:铜壳
罩子:铜罩
接帽:铜接头
使用条件:
冷水表水温不高于35℃
热水表水温高于90℃
水压不大于1.0Mpa/1.6Mpa
压力曲线图

流量误差图

示值误差限:
a. 从包括最小流量(Qmin)至不包括分界流量(Qt)的低区:±5%
b. 从包括分界流量(Qt)至包括最大流量(Qmax)的高区:±2%
主要技术参数
公称口径(mm) | 计量等级 | 最大流量(m³/h) | 公称流量(m³/h) | 分界流量(m³/h) | 最小流量(m³/h) | 最小读数 | 最大读数 |
15 | C | 3.125 | 2.5 | 0.025 | 0.015625 | 0.0001 | 99999 |
20 | C | 5 | 4 | 0.04 | 0.025 | 0.0001 | 99999 |
25 | C | 7.875 | 6.3 | 0.063 | 0.039375 | 0.0001 | 99999 |
40 | C | 20 | 16 | 0.16 | 0.1 | 0.001 | 99999 |
50 | C | 31.25 | 25 | 0.25 | 0.15625 | 0.001 | 99999 |
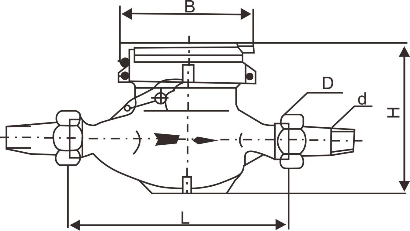
外形尺寸及重量
公称口径 | DN | 15 | 20 | 25 | 40 | 50 |
长度 | L1(mm) | 165 | 195 | 225 | 245 | 300 |
宽度 | B(mm) | 98 | 98 | 103 | 125 | 135 |
高度 | H(mm) | 114 | 114 | 114 | 144 | 155 |
连接螺纹 | d | R1/2 | R3/4 | R1 | R1-1/2 | R2 |
D | G3/4 | G1 | G1-1/4 | G2 | G2-1/2 | |
重量 | kg | 1.2 | 1.6 | 2.6 | 4.5 | 7 |
产品结构图:

安装示意图:

扫一扫咨询微信客服